球阀与旋塞阀的主要区别在于它们的结构、工作原理、操作方式、流量控制、密封性能以及应用场景。
一、结构差异
球阀是通过旋塞阀演变而来的,其启闭件是一个球体,通过球体绕阀杆的轴线旋转90°实现开启和关闭。球阀的结构相对简单,由一个球形阀体和一个穿过球体的孔道组成。
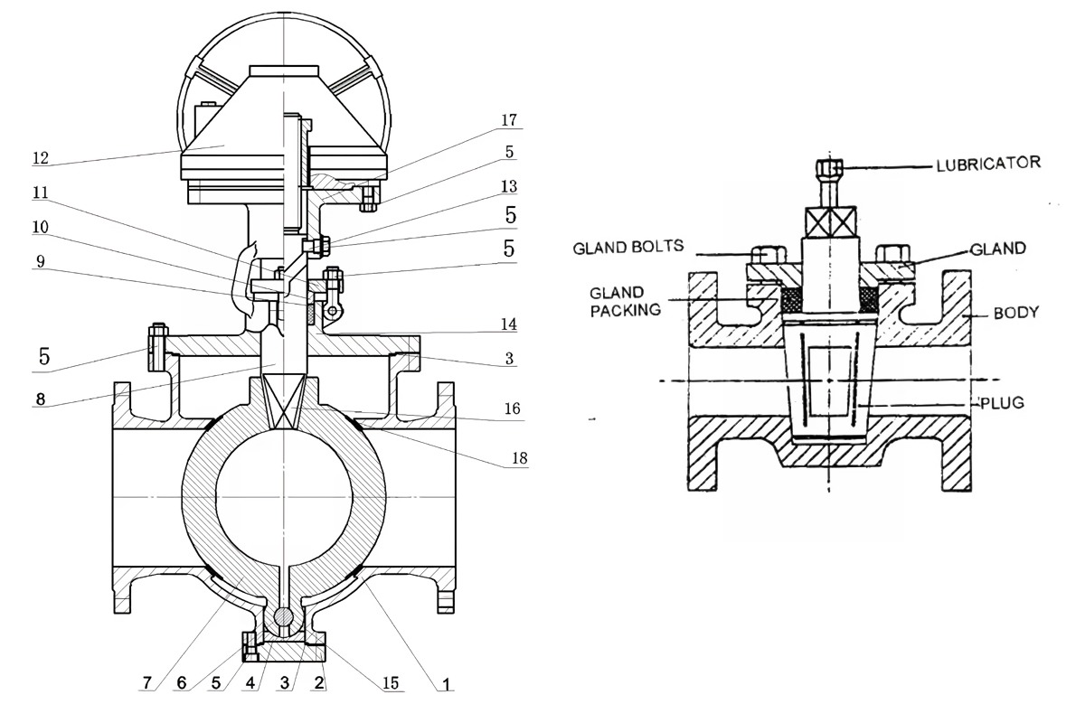
旋塞阀的关闭件是柱塞形的旋转阀,通过旋转90°使阀塞上的通道口与阀体上的通道口相通或分开。旋塞阀的结构相对复杂,由阀体、阀盖、阀芯、阀座和阀杆组成。
.jpg)
二、工作原理
球阀的工作原理是通过旋转球体来控制流体的开启和关闭,当球体旋转到与阀座接触时,形成密封,防止流体泄漏;当球体旋转到与阀座分离时,流体可以通过阀体内的通道流动。
旋塞阀的工作原理则是通过旋转塞体来开启或关闭通道,塞体随阀杆转动,实现启闭动作。旋塞阀的启闭件为带孔的锥形旋塞,流体通道与旋塞的轴线相垂直。
三、操作方式不同
球阀的操作方式相对简单,通常只需旋转90度即可完成开关动作。球阀的设计使得流体通道在球体旋转90度后能够迅速开启或关闭,操作方便且迅速。此外,球阀的密封性能优异,特别是在全开或全关状态下,流体阻力较小,适用于需要快速开关的场合。
旋塞阀的操作则相对复杂一些,需要旋转多个圈数才能完成开关动作。旋塞阀的阀芯通常呈圆柱形或锥形,通过旋转来控制流体的流动。由于其结构特点,旋塞阀在流量调节方面表现良好,可以精确控制流体通道的直径,但不适合频繁操作。
四、流量控制不同
球阀和旋塞阀在流量控制方面的主要区别在于旋塞阀在流量调节方面表现更好,而球阀的流量调节性能相对较差。
旋塞阀由于其结构特点,能够精确控制流体通道的直径,从而实现对流量的精确调节。相比之下,球阀虽然可以通过旋转来调节开度,但不如旋塞阀灵活。
五、密封效果不同
球阀的密封性能在理论上稍差于旋塞阀,但随着技术的提高,球阀的密封效果也越来越好,适用范围逐渐扩大。
旋塞阀的密封性能较好,通常具有多道密封设计,适合用于密封要求较高的场合。球阀的结构简单,重量轻,体积小,使用起来更为方便。旋塞阀的结构复杂,但开关迅速,流体阻力小。
六、适用场合不同
球阀广泛应用于石油、化工、造纸、制药等行业,适合需要快速打开或关闭的应用场景。
旋塞阀则广泛应用于油田开采、输送和精炼设备中,适合需要精确流量控制和良好密封性的应用场景。
因此,在选型时需要根据不同场合、介质和工况等条件综合考虑,选择合适的阀门。