一.适用阀门类型及对比

二.关键设计特点
抗空化核心:
多级减压:通过多级节流孔逐步降压,避免压力骤降至饱和蒸气压。
角阀结构:利用介质对阀体的撞击消耗能量,降低气泡溃灭冲击。
硬质合金:阀座/阀瓣采用司太立合金(Stellite 6/21),硬度HRC 40+,耐微射流冲击。
流量匹配的重要性:
案例中Gestra阀在设计流量531kg/h(50%开度) 时寿命4年,而开度80%-100%(流量1700kg/h)时仅存活1-3个月。
结论:阀门开度必须落在主调节区(如YARWAY的3-6圈),避免小开度(节流加剧)或大开度(空化区)。

三.生产控制关键点
结构优化:
避免阀体内部存在未打通孔洞(如Gestra阀的螺栓孔),防止局部冲蚀。
采用整体锻造阀体减少焊缝(YARWAY方案),降低焊缝冲蚀风险。
材质选择:
阀内件:必须使用钴基合金(Stellite)或碳化钨硬化处理。
阀体:优先选用铬钼钢(如F22)而非碳钢,提升抗冲蚀性。
工艺匹配:
口径计算:根据最大/最小流量选型,案例中DN25升级至DN40。
压差控制:出口管道扩径(DN50→DN80)降低流速,减轻冲刷。

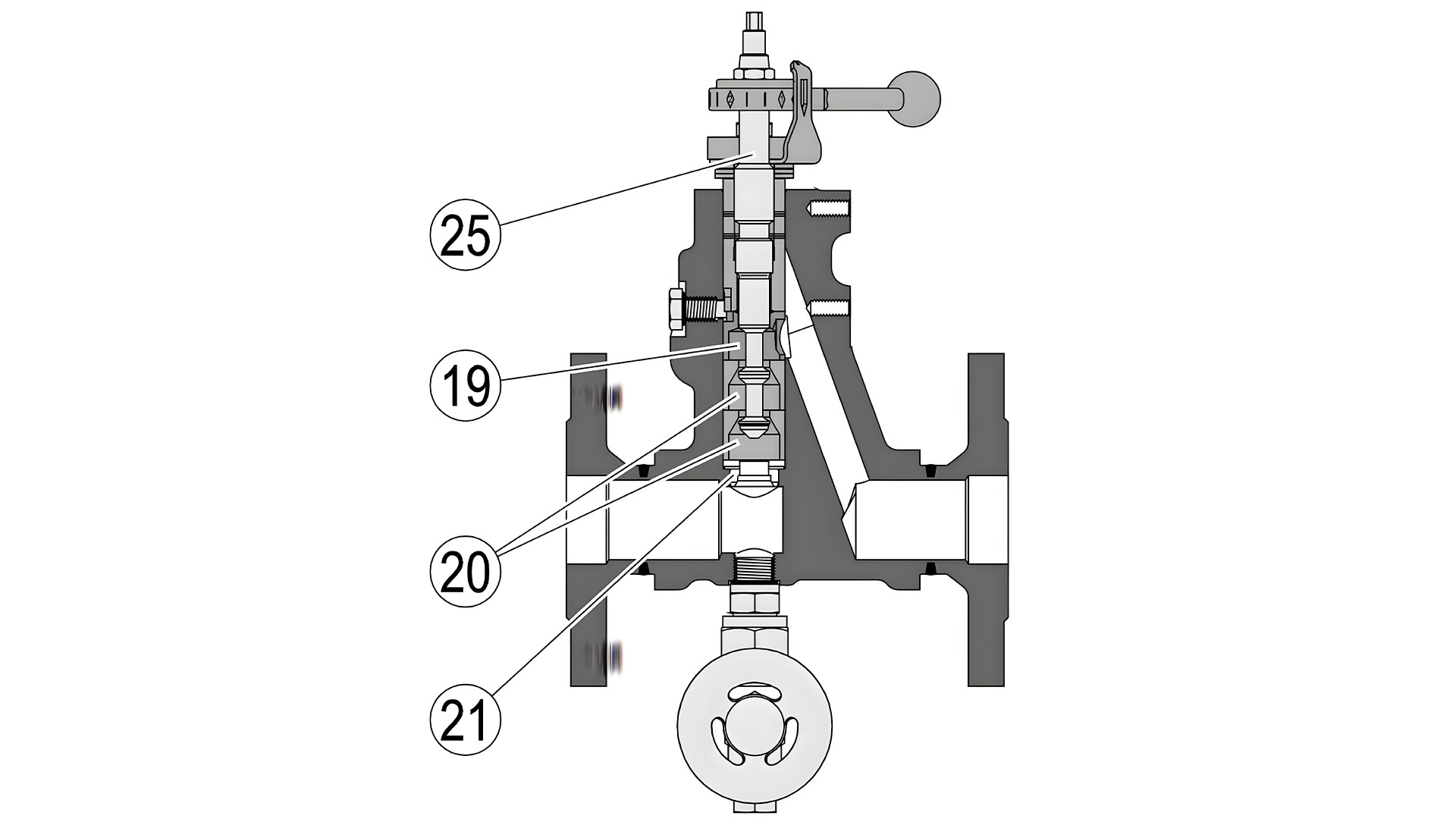
4.流量与开度匹配
核心原则:阀门开度必须落在主行程范围(如YARWAY的3-6圈)。
教训:Gestra阀在50%开度运行4年,开度>80%后寿命仅1-3个月(空化加剧)。
对策:按实际最大排污量选型,确保正常开度在30%-70%之间(避开小开度&全开冲击区)。
5.焊接与安装规范
角阀焊接时:关闭阀门,避免热变形影响密封;出口预留足够直管段(减少紊流)。
操作顺序:先开排污阀→后开前端闸阀;先关前端闸阀→后关排污阀,保护阀门免受冲击。
四、选型与操作比较表

五、结论
首选阀门:上进下出角阀(如Emerson YARWAY),搭配Stellite硬质合金密封面,结构简单抗空化。
必须措施:
精准选型:按最大排污量计算口径(如DN40),确保开度在30%-70%主行程区间。
严格操作:禁用冲击区开度(如YARWAY的6-8圈仅作间歇使用)。
规范安装:焊接时关闭阀门,保证出口直管段长度。
避坑点:
避免阀门出口存在未打通孔洞或焊缝突出(Gestra阀失效主因);
工艺负荷变化时重新校核阀门流量适应性。
4.替代方案:多级减压阀需彻底改进阀体结构(消除内部缺陷),并严格限定流量范围。
5.必控要素:
流量-开度匹配(严禁超范围使用)
司太立合金阀内件
安装规范性(焊接/直管段/操作顺序)